2019-11-18
管力閥主要用于自動化給排水泵站的出水管道,可適用于清水、原水類介質和污水、渣漿水類等介質,管力閥結構緊湊,體積小,重量輕,特別適用于大口徑管路系統。可廣泛應用于電力、環保、冶金、石化、水司、市政、食品等行業供、排水系統、污水泵房、化工流體等的輸送系統。
在輸送介質的過程中,當水泵在停止時會產生水錘效應,水錘效應產生的瞬時壓強可達管道中正常工作壓強的幾十倍甚至于數百倍,這種大幅度壓強波動,可導致管道系統產生強烈振動或噪聲,并可能破壞閥門接頭。對管道系統有很大的破壞作用。因此,如何在輸送介質的過程中消除水錘效應,防止水錘效應產生的危害,是目前現有技術中一亟待解決的問題。
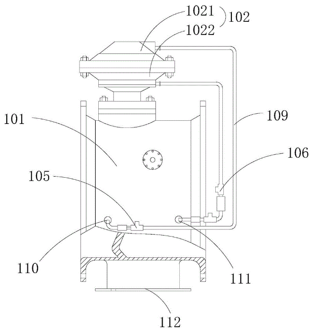
管力閥包括:閥體、主控缸、大閥瓣、小閥瓣、緩閉調節閥、止回閥、閥桿和傳動桿;
閥桿設置于閥體內并與所述閥體轉動連接,大閥瓣與閥桿連接并將閥體內分隔為閥門進口端和閥門出口端,大閥瓣外設置有第一密封圈;主控缸設置于閥體上,主控缸內設置有活塞,活塞將主控缸分隔為上主控缸和下主控缸,上主控缸與閥門出口端連通,下主控缸與閥門進口端連通,上主控缸與所述閥門出口端之間設置有緩閉調節閥,下主控缸與所述閥門進口端之間設置有止回閥;
大閥瓣上設置有與小閥瓣匹配閥瓣孔,傳動桿的一端與所述活塞連接,另一端貫穿主控缸延伸至閥體內并與小閥瓣連接,小閥瓣可在傳動桿帶動下開啟或關閉閥瓣孔。
管力閥通過在大閥瓣的外沿上設置第一密封圈,當關閉水泵時,大閥瓣外沿上的第一密封圈可確保能將大閥瓣與閥體內壁之間的縫隙完全密封,同時在小閥瓣的共同作用下完全切斷回流介質,從而完全消減水錘峰值,達到消除水錘危害的有益效果。
管力閥工作原理:
當啟動水泵輸送介質時,介質從閥門進口端向閥門出口端運動,并推動大閥瓣開啟,同時,部分介質從閥門進口端內依次經過第二過濾器和止回閥進入下主控缸內并推動主 控缸內的活塞緩緩向上運動,并帶動小閥瓣上升,此時,閥瓣孔被開啟。在使用的過程中還可根據使用情況,調節止回閥的開啟大小,以達到不錯的效果。
當關閉水泵時,閥門進口端的介質流量及壓力驟降,閥門出口端的介質回流,大閥瓣在重力及回流介質的作用下迅速關閉,設置于大閥瓣的外沿上的第一密封圈將大閥瓣與閥體內壁之間的縫隙完全密封。同時,閥門出口端內的介質依次經第一過濾器和緩閉調節閥進入上主控缸并推動活塞緩緩向下運動,活塞帶動小閥瓣運動直至將閥瓣孔封堵,切斷回流的介質,從而完全消減水錘峰值,達到消除水錘危害的有益效果。